Double bed frame plan

I also have a plan of this bed with 3d drawings


Bill of materials

The bill of materials below assumes all the lumber is of good quality. You should buy extra wood to be able to leave out pieces with defects in them, as construction lumber is often full of ugly defects. Generally, its best to buy wider pieces of lumber and rip them into narrower pieces. You end up with higher quality lumber that way, as smaller pieces of lumber are cut from the smallest trees and are prone to warpage. It may be better to buy six 2x8x8' instead of the parts marked with an asterisk, and cut t he appropriate sized parts from those.

PartQuantityUsed for
2x8 x 8'2 *Side rails
2x8 x 12'1 *Bottom horizontal for headboard and footboard.
2x3 x 8'3 *For making the posts
2x10 x 8'3 *For headboard top horizontal, and footboard top horizontal
2x2 x 8'2Supports for slats on side rails
2x4 x 12'6For slats (cut two slats from each one)
3/4" dowel6'For cutting dowels from. Buy enough lengths to get 6'
2.5" #10 wood screw24For mounting side rails
2.5" #10 wood screw10For screwing slat supports onto side rails
Wood glue100mlAt least 100 ml of wood glue.


Overview


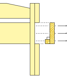
Cross section

Note how the slats rest on the ledge on the inside of the side rails.

A rabbet in the end of the slats ensures that not too much height is used up by the slats.


Headboard

The holes for the dowels are best drilled by clamping the horizontal and the post together, and drilling the hole through both parts at once from the outside, as shown below.


Footboard

The foot board is nearly the same as the head board, just shorter. If you who prefer to stick their feet off the end of the bed, leave out the top horizontal part, and make the posts just 18" long.


Bed rail

The bed rail has a series of blocks on the ledge to support the slats. The purpose of these blocks is to keep he slats from sliding around.

Its best to glue and screw the 1.5"x1.5" support rail for the slats onto the main part of the rail, to make sure that it's attached solidly.


Slats

Cut the slats from 2x4 lumber. Make 12 slats, each 53.75" long.


Final assembly

Bed frames are designed to be taken apart for moving. Unscrewing the side rails to move this bed.

The slats are placed between the bed rails, and are only held in place by gravity. The blocks on the bed rails prevent them from sliding around.

Also read my Building a bed page on building a twin size version of this bed plan for more guidance.

See also